Slaag gegarandeerd met examentraining
- Oefen examens van de afgelopen 5 jaar met extra uitleg door docenten bij examenvragen
- Extra uitleg en oefenen voor elk onderwerp uit je examen
- Stel vragen en krijg direct antwoord

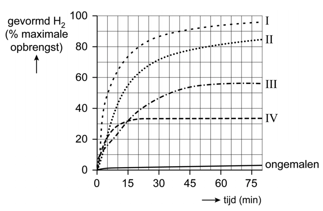
Op deze pagina behandelen we vraag 40 van het centraal examen nask2 vmbo 2024 – tijdvak 2. Deze vraag is onderdeel van Magnesiumhydride, en is 2 punten waard.
Je kunt hier zelf het antwoord invullen en vervolgens direct de uitwerking en uitleg bekijken.
Daarnaast kun je:
- Oude antwoorden terugzien
- Extra uitleg vragen aan onze AI-hulp via de knop "Stel je vraag"
- Klikken op de bijbehorende onderwerpen uit de examenroute om verdieping te vinden